SEÇÕES

Google pode lançar Chromebook de celular integrado;veja patente

Patente mostrou possível novo aparelho do Google

Chromebook | Foto: Reprodução
Siga-nos no

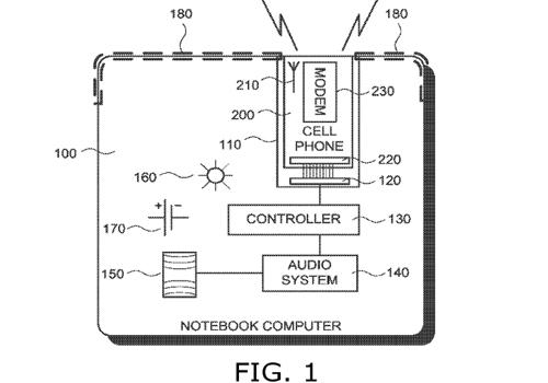
O Google registrou a patente de um dispositivo bastante diferente: um laptop com um celular removível. Os dois podem ser usados tanto em conjunto quanto separadamente. Mesmo com o registro, o aparelho ainda é um projeto conceitual, tendo em vista que não há indicações de o gadget sair do papel.

Entre as possibilidades estão a de o laptop usar a conectividade do celular para acessar a Internet remotamente, assim como para realizar chamadas. Por outro lado, o telefone pode utilizar a integração com o laptop para amplificar sons, usar sua bateria como reserva externa e muito mais.

A patente mostra como ele se encaixa em um slot, não apenas em uma porta USB, justamente para poder realizar mais funções e não ficar tão limitado. Os produtos poderiam ser usados de forma independente e também juntos, porém seriam compatíveis somente entre eles, e não com outros dispositivos.

Tudo ainda está no campo da especulação e do conceitual, porém não é possível descartar nada. Especialmente pelo fato de o Chrome OS e o Android estarem cada vez mais próximos um do outro. Se o Google criasse um sistema de sincronização potente e efetivo entre os dois, quem sabe a ideia não fizesse sucesso.

Tópicos
Veja Também